foto da fonti aperte
State Central Research Institute of Engineering (TsNIImash, sotto Roscosmos) in 2 anni prevede di rilasciare una serie di nuovi polmoni jetpack spaziali per gli astronauti. Tali cartelle fornire un lavoro sicuro nello spazio e aiutare l’astronauta tornare alla stazione in caso di emergenza. Questo è stato segnalato da uno dagli sviluppatori di zaini – accademico cosmonauta dell’Accademia Russa astronautica Mikhail Burdaev.
foto da fonti aperte
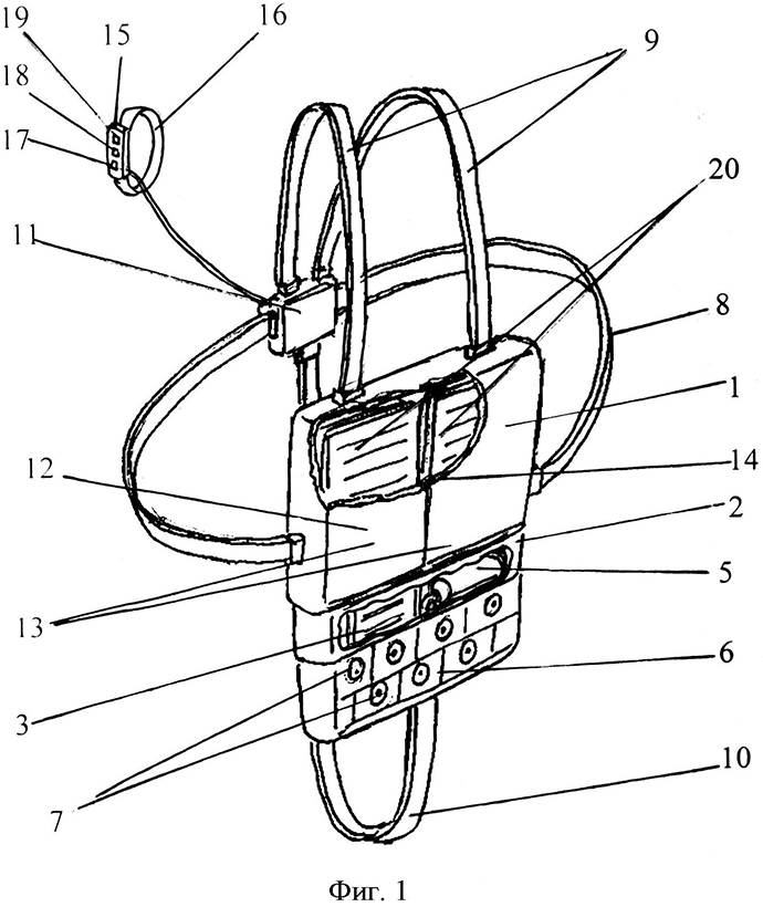
La cartella verrà attaccata alla tuta spaziale, una caratteristica chiave della cartella è pannelli solari che, se necessario voltati. Le batterie ricaricano la batteria da cui dipende dal funzionamento di un motore a reazione elettrico.
foto da fonti aperte
Il ricercatore del MIPT Ivan Zavyalov ha spiegato che il solito un motore a reazione brucia carburante e la velocità del naturale l’uscita del gas attraverso l’ugello del getto è molto limitata e il motore elettrogetto ionizza gas e ioni carichi accelerare con un campo elettrico – di conseguenza, la velocità di uscita del gas è 10 e più volte superiore a un motore chimico. Pertanto, tale i motori consumano molto meno carburante. In Russia ce ne sono due siti produttivi impegnati nella creazione di elettro-creativi motori – OKB “Fakel” di Kaliningrad e OJSC “KB Himavtomatiki” da Voronezh.
Inoltre, la novità dell’invenzione di Burdaev e dei suoi colleghi di TsNIImash è in motori aggiuntivi che lo faranno fissarsi davanti alla tuta spaziale e fungere da freno – l’astronauta ha bisogno incontro sicuro con la nave quando torna indietro, di solito ad alta velocità. Si presume che il peso della cartella spaziale non ci saranno più di 10 kg.
– Idee di zaini spaziali per il movimento in libert� lo spazio è stato a lungo, anche tra gli scrittori di fantascienza. Uno dei primi campioni che gli americani avevano un missile con cui avevano da solo. Questo è un piccolo motore a reazione simile a quello di una donna asciugacapelli In effetti, puoi anche volare un asciugacapelli, anche se non all’aperto spazio e all’interno della stazione. Ad esempio, il cosmonauta Yuri Artyukhin all’interno stazione ha volato su un aspirapolvere domestico, – afferma Burdaev.
L’uomo è andato per la prima volta nello spazio 50 anni fa. 18 marzo Nel 1965 l’astronauta Alexei Leonov lo fece su una nave “Sunrise 2”. Attualmente, astronauti russi e americani per aggrapparsi alla stazione utilizzare le drizze (cavi) con carabine, che sono collegati all’edificio della stazione. Le drizze si aggrappano alternativamente a elementi strutturali e sono fissi, che non consente agli astronauti volare nello spazio.
– Problemi di installazione di apparecchiature sulla superficie esterna della stazione, sebbene siano considerati e progettati in anticipo, ma comunque richiede coinvolgimento umano. Mentre non abbiamo macchine perfette e robot che possono sostituire il lavoro umano nello spazio, è inoltre necessaria la riparazione delle attrezzature. Ad esempio, in Nel 1979 andarono a visitare i cosmonauti Vladimir Lyakhov e Valery Ryumin spazio aperto in modalità non pianificata e sbloccato l’antenna KRT-10, che, una volta separato dalla stazione, è andato storto, agganciato per il dispositivo vicino e interferito con il volo della nave. In una situazione simile il robot non aiuterà “, dice l’astronauta Burdaev.
– Molto dipende dalle dimensioni della rimozione sicura dell’astronauta da stazione. In questo caso, intendiamo una tale distanza dalla stazione, in cui la cartella fornisce un ritorno. Dopo tutto, tutti i dispositivi hanno un limite di possibilità. Lattina di energia solare sposta l’astronauta, a seconda delle dimensioni del solare batterie – a 50-100 m. E poi finirà come la benzina. Gli americani sono riusciti ad andare in mare aperto per diversi decine di metri. Riescono a rimuovere dalle risorse esaurite satelliti le parti più preziose e montarle su nuovi lanci satelliti. Cioè, il satellite lascia la Terra non in un set, ma solo parzialmente.
foto da fonti aperte
Attualmente, l’impresa “Star” (in via di sviluppo tute spaziali) fu creata un’unità di salvataggio di astronauti (USK), che offre l’opportunità di tornare allo spazio internazionale stazione, ma non è attualmente in uso. Il suo peso 55 kg, non ha un dispositivo di frenatura ed è assente ricaricare dal sole.
– Negli anni ’80, queste strutture avevano altri compiti. sovietico e gli esperti americani erano impegnati a sviluppare strumenti il movimento degli astronauti (SPK) nello spazio. il Soviet Si chiama l’invenzione di 400 sterline nella vita di tutti i giorni “moto”, ricorda anche una sedia con maniglie c’è una cartella che si attacca alla tuta spaziale e si trova dietro bombole di gas e motori. Questo strumento ha permesso di volare via da stazione o dalla navetta, catturare o ispezionare qualsiasi satellite e tornare indietro. Vuoto o con un satellite. Il dispositivo sovietico fu usato solo una volta, per verifica, in Anno 1990. Ora la sfida è la sicurezza. se la persona è venuta via, deve essere restituita – dice il vice Capo progettista della centrale nucleare OAO Zvezda Alexander Lazutkin. – La prossima generazione di dispositivi fu l’americano SAFER: semplificato Aiuto per EVA Rescue, letteralmente “dispositivo di salvataggio leggero” astronauta nello spazio “, pubblicato nel 1994. Questo installazione più piccola, gli americani lo mettono nel loro giorno libero tuta spaziale prima di uscire. Il dispositivo è piccolo telaio di alimentazione del gas. In caso di separazione di un astronauta dalla sua stazione puoi sempre iniziare e tornare indietro.
Ma dal momento che nessuno era mai uscito dalla stazione, SAFER non una volta l’appuntamento non è stato usato, dice Burdaev, anche se è logorato passeggiate spaziali. Ha sottolineato che il nuovo sviluppo incorpora il meglio dell’esperienza americana e russa.
– La probabilità di separazione dalla stazione è elevata, tuttavia, nei casi in cui l’astronauta si disimpegnò e volò nello spazio, nella storia niente astronautica. Ci sono stati casi in cui una persona ha perso in distrazione una borsa degli attrezzi o altre cose e sono volati via, – dice Burdaev. – Il carburante nella cartella, di regola, è un po ‘. Ma se allora devi garantire il ritorno da una distanza maggiore di 100 m dovrà aumentare la quantità di carburante nel progetto. Se una persona ha volato nell’ombra soleggiata, si congelerà. La temperatura nello spazio raggiunge meno 70 gradi e sotto, e nell’ombra – meno 150 gradi. All’ombra puoi arrampicarti, ma non per molto. Le prime stazioni sovietiche regolarmente rivolto in relazione al sole da un lato, quindi dall’altro, quindi come si sono piegati, perché quando il sole riscalda un lato, un altro si raffredda: la stazione, come un bruco, si contorceva.
Specialista capo della Rocket and Space Corporation Energia, il cosmonauta Yuri Usachev sostiene lo sviluppo di nuovi strumenti per muoversi nello spazio.
– Tali dispositivi sono necessari agli astronauti. Sicurezza oggi Gli astronauti russi forniscono solo drizze e carabine, – disse Usachev.
Time Robot Russia Sole
